Оригинальные каталоги
| № | Номер | Наименование | Цена | |
|---|---|---|---|---|
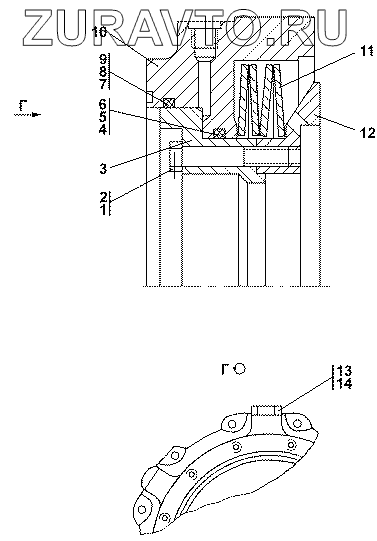
| 3501-96-103СП(SP) | 3501-96-103СП(SP) | Бустер | Нет в продаже |
|
| 1 | Проволока 1,6-0-С | Проволока 1,6-0-С | Нет в продаже |
|
| 2 | 28 0382 | Болт М12-6gx70 | Нет в продаже |
|
| 3 | 3501-96-132 | Поршень | Нет в продаже |
|
| 4 | 40 0473-01 | Кольцо уплотнительное | Нет в продаже |
|
| 5 | QRAR 04446-№8004 | Кольцо уплотнительное QRAR 04446-№8004 | Нет в продаже |
|
| 6 | QRAR 04446-№7004 | Кольцо уплотнительное QRAR 04446-№7004 | Нет в продаже |
|
| 7 | 40 0473-02 | Кольцо уплотнительное | Нет в продаже |
|
| 8 | QRAR 04449-№8004 | Кольцо уплотнительное QRAR 04449-№8004 | Нет в продаже |
|
| 9 | QRAR 04449-№7004 | Кольцо уплотнительное QRAR 04449-№7004 | Нет в продаже |
|
| 10 | 3501-96-106 | Корпус | Нет в продаже |
|
| 11 | 1101-18-7 | Тарелка | Нет в продаже |
|
| 12 | 3501-96-131 | Диск нажимной | Нет в продаже |
|
| 13 | 37 5331 | Пробка | Нет в продаже |
|
| 14 | 018-022-25-2-51-1668 | Кольцо ГОСТ 9833-73/ТУ 38.005.204-84 | Нет в продаже |
|
1
2
3
4
5
6
7
8
9
10
11
12
13
14
Содержащиеся в справочниках-каталогах запасные части и детали носят исключительно информационный характер