Оригинальные каталоги
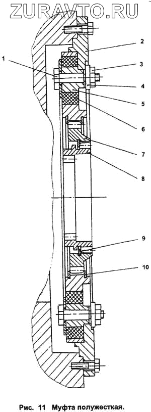
| № | Номер | Наименование | Цена | |
|---|---|---|---|---|
| 1 | 2765015-1600014 | Болт | Нет в продаже |
|
| 2 | 2765015-1600011 | Диск | Нет в продаже |
|
| 3 | М12 | Гайка | Нет в продаже |
|
| 4 | 2765015-1600015 | Шайба | Нет в продаже |
|
| 5 | 2765015-1600021 | Втулка | Нет в продаже |
|
| 6 | 2765015-1600023 | Амортизатор | Нет в продаже |
|
| 7 | 2765020-1600014 | Муфта наружная | Нет в продаже |
|
| 8 | 2765020-1600015 | Муфта внутренняя | Нет в продаже |
|
| 9 | 2765020-1600016 | Кольцо | Нет в продаже |
|
| 10 | С200 | Кольцо | Нет в продаже |
|
2
3
4
5
6
7
8
9
10
Содержащиеся в справочниках-каталогах запасные части и детали носят исключительно информационный характер