Оригинальные каталоги
| № | Номер | Наименование | Цена | |
|---|---|---|---|---|
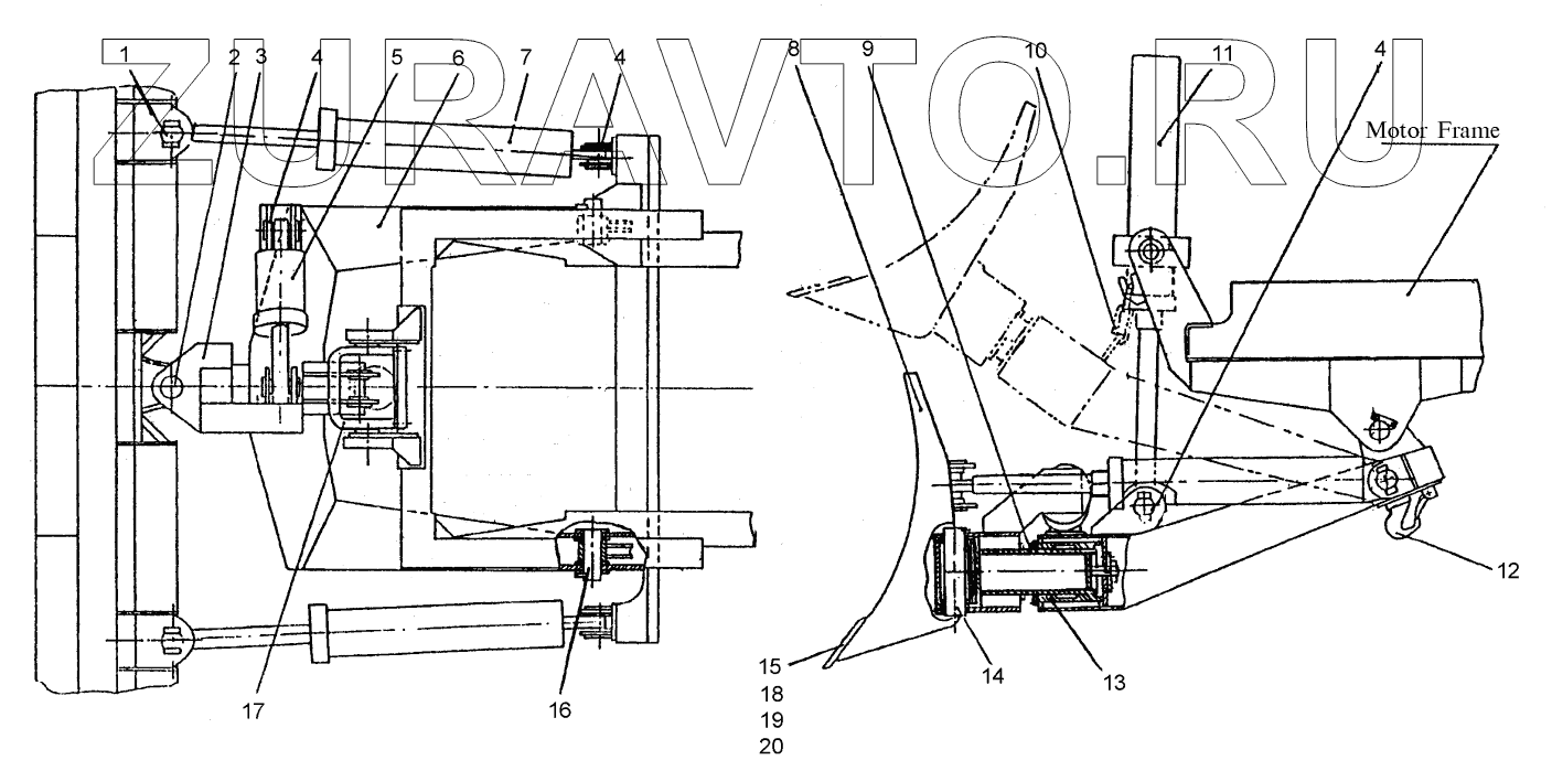
| 1 | УДМ.0000011 | Палец | Нет в продаже |
|
| 2 | УДМ.0000003 | Ось | Нет в продаже |
|
| 3 | УДМ.0000020-1 | Шарнир | Нет в продаже |
|
| 4 | УДМ.0000009-1 | Палец | Нет в продаже |
|
| 5 | УДМ.0003000-2 | Гидроцилиндр | Нет в продаже |
|
| 6 | УДМ.0200000-1 | Рама | Нет в продаже |
|
| 7 | УДМ.0002000-2-01 | Гидроцилиндр 160х800 | Нет в продаже |
|
| 8 | УДМ.0100000-1 | Отвал | Нет в продаже |
|
| 9 | УДМ.0000050-1 | Цапфа | Нет в продаже |
|
| 10 | А1-18х50 | Цепь | Нет в продаже |
|
| 11 | УДМ.0001000-2 | Гидроцилиндр 160х800 | Нет в продаже |
|
| 12 | 2256010-2801017-1 | Крюк | Нет в продаже |
|
| 13 | ЭУДМ.0200033 | Обойма | Нет в продаже |
|
| 14 | УДМ.0000003 | Ось | Нет в продаже |
|
| 15 | БТУ-55У.01.00.009 | Нож | Нет в продаже |
|
| 16 | УДМ.0000001 | Ось | Нет в продаже |
|
| 17 | УДМ.0700010 | Рамка | Нет в продаже |
|
| 18 | БАТ-2.14.03.012 | Болт | Нет в продаже |
|
| 19 | М16 | Гайка | Нет в продаже |
|
| 20 | 16.65Г.06 | Шайба | Нет в продаже |
|
1
2
3
4
4
4
5
6
7
8
9
10
11
12
13
14
15
16
17
18
19
20
Содержащиеся в справочниках-каталогах запасные части и детали носят исключительно информационный характер