Оригинальные каталоги
| № | Номер | Наименование | Цена | |
|---|---|---|---|---|
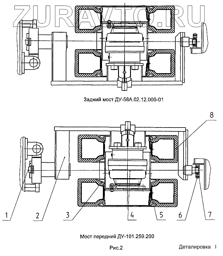
| 1 | ДУ-58А.02.12.040 | Опора | Нет в продаже |
|
| 1 | ДУ-58А.02.12.040-03 | Опора | Нет в продаже |
|
| 1 | ДУ-58А.02.12.040-02 | Опора | Нет в продаже |
|
| 2 | ДУ-58А.02.12.040-01 | Опора | Нет в продаже |
|
| 3 | ДУ-64.141.120 | Обод | Нет в продаже |
|
| 4 | ДМ-31.05.000-07 | Редуктор планетарный | Нет в продаже |
|
| 5 | ДУ-99.283.550 | Обод | Нет в продаже |
|
| 6 | ДМ-05.01.001-06 | Кольцо В50 | Нет в продаже |
|
| 7 | ДМ-19.01.001-05 | Пробка | Нет в продаже |
|
| 8 | [Шина пневмоколесная 11.00-20 мод.0213 ТУ-38.304-14-240-99] | Шина пневмоколесная 11.00-20 мод.0213 ТУ-38.304-14-240-99 | Нет в продаже |
|
1
1
1
2
3
4
5
6
7
8
Содержащиеся в справочниках-каталогах запасные части и детали носят исключительно информационный характер