Оригинальные каталоги
| № | Номер | Наименование | Цена | |
|---|---|---|---|---|
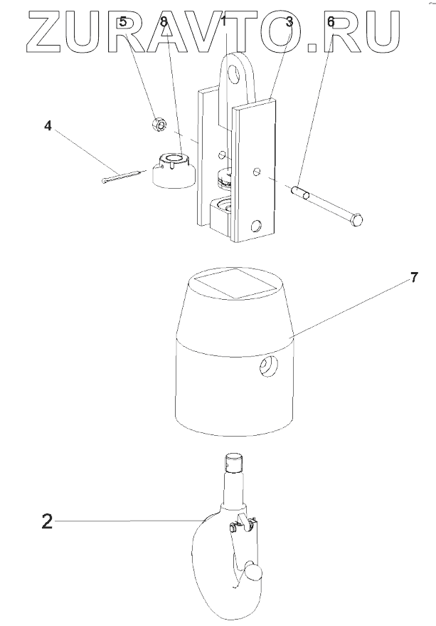
| 1 | A210651000026 | Bearing, roller | Нет в продаже |
|
| 2 | 10137968 | Hook, auxiliary, subassy | Нет в продаже |
|
| 3 | 10037102 | Cradle | Нет в продаже |
|
| 4 | A210501000015 | Pin | Нет в продаже |
|
| 5 | A210307000040 | Nut | Нет в продаже |
|
| 6 | A210110000318 | Bolt | Нет в продаже |
|
| 7 | 10137983 | Counterweight | Нет в продаже |
|
| 8 | 10137989 | Nut | Нет в продаже |
|
1
2
3
4
5
6
7
8
Содержащиеся в справочниках-каталогах запасные части и детали носят исключительно информационный характер