Оригинальные каталоги
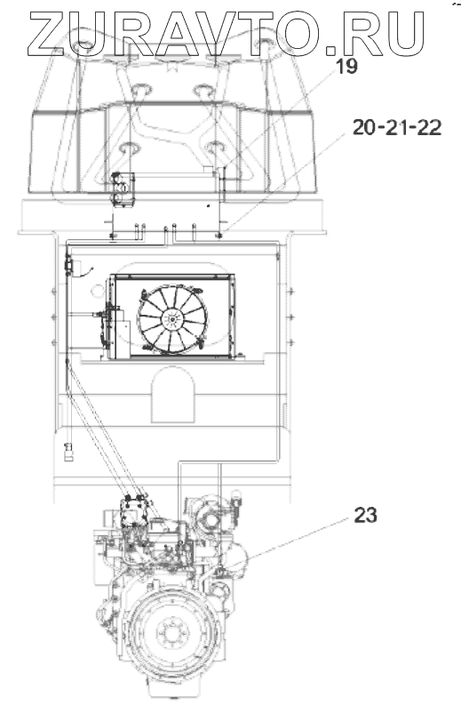
| № | Номер | Наименование | Цена | |
|---|---|---|---|---|
| 19 | A210855000011 | Circle | Нет в продаже |
|
| 20 | A210111000018 | Bolt | Нет в продаже |
|
| 21 | A210401000001 | Washer | Нет в продаже |
|
| 22 | A210405000011 | Washer | Нет в продаже |
|
| 23 | A820205002290 | Joint RSC45.16-3 | Нет в продаже |
|
19
20
21
22
23
Содержащиеся в справочниках-каталогах запасные части и детали носят исключительно информационный характер