Оригинальные каталоги
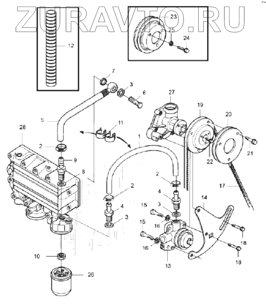
| № | Номер | Наименование | Цена | |
|---|---|---|---|---|
| 1 | 60109753 | Pipe | Нет в продаже |
|
| 2 | 60109653 | Clamp | Нет в продаже |
|
| 3 | 60130797 | Gasket | Нет в продаже |
|
| 4 | 60109663 | Adapter, screwed, hose | Нет в продаже |
|
| 5 | 60131924 | Hose, fuel | Нет в продаже |
|
| 6 | 60109551 | Bolt, hollow | Нет в продаже |
|
| 7 | 60109746 | Watertight ring | Нет в продаже |
|
| 8 | 60094273 | Washer | Нет в продаже |
|
| 9 | 60109661 | Adapter, hose | Нет в продаже |
|
| 10 | 60109572 | Hex nut | Нет в продаже |
|
| 11 | 60109826 | Fixing, flexible | Нет в продаже |
|
| 12 | 60109246 | Tube | Нет в продаже |
|
| 13 | B220301000563 | Pump, oil transfer | Нет в продаже |
|
| 14 | 60109691 | Support | Нет в продаже |
|
| 15 | 60109611 | Screw | Нет в продаже |
|
| 16 | 60109436 | Washer, spring | Нет в продаже |
|
| 17 | 60109758 | V-belt | Нет в продаже |
|
| 18 | 60109607 | Screw | Нет в продаже |
|
| 19 | 60109426 | Pulley | Нет в продаже |
|
| 20 | 60109427 | Pulley | Нет в продаже |
|
| 21 | 60109602 | Screw | Нет в продаже |
|
| 22 | 60109667 | Screw, flange | Нет в продаже |
|
| 23 | 60109429 | Pulley | Нет в продаже |
|
| 24 | 60109602 | Screw | Нет в продаже |
|
| 25 | 60109452 | Washer | Нет в продаже |
|
| 26 | 60010955 | Filter, diesel | Нет в продаже |
|
| 27 | 60130213 | Pump, circulation | Нет в продаже |
|
| 28 | 60109529 | Framework | Нет в продаже |
|
1
2
2
2
3
3
3
4
4
5
6
7
8
9
10
11
12
13
14
15
15
16
16
17
18
18
19
20
21
22
23
24
25
26
27
28
Содержащиеся в справочниках-каталогах запасные части и детали носят исключительно информационный характер