Оригинальные каталоги
| № | Номер | Наименование | Цена | |
|---|---|---|---|---|
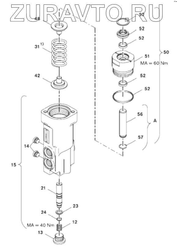
| 12 | 60136697 | Spring, compressed | Нет в продаже |
|
| 13 | 60136624 | Form | Нет в продаже |
|
| 14 | 60136623 | Form | Нет в продаже |
|
| 15 | 60136649 | Lodging | Нет в продаже |
|
| 21 | 60136551 | Core, valve | Нет в продаже |
|
| 23 | 60136515 | Ring | Нет в продаже |
|
| 24 | 60136603 | Ring, retainer, elastic | Нет в продаже |
|
| 31 | 60136701 | Spring, compressed | Нет в продаже |
|
| 42 | 60136601 | Seat, spring | Нет в продаже |
|
| 48 | 60136602 | Seat, spring | Нет в продаже |
|
| 50 | 60136745 | Controller | Нет в продаже |
|
| 51 | 60136639 | Sleeve, sliding | Нет в продаже |
|
| 52 | 60136522 | Sleeve, seal | Нет в продаже |
|
| 56 | 60136691 | Brooch | Нет в продаже |
|
| 57 | 60136604 | Ring, retainer, elastic | Нет в продаже |
|
12
13
14
15
21
23
24
31
42
48
50
51
52
52
52
52
52
56
57
Содержащиеся в справочниках-каталогах запасные части и детали носят исключительно информационный характер