Назад

Оригинальные каталоги

zoom-in zoom-out enlarge shrink circle-right circle-left file-text2 info cart
Номер Наименование Цена
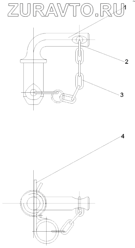
1 00000181 Inserted pin, upper Нет в продаже
2 A229900000176 Ring, key Нет в продаже
3 11033634 Chain Нет в продаже
4 A829900002661 Pin, elastic Нет в продаже
1
2
3
4
100%
Содержащиеся в справочниках-каталогах запасные части и детали носят исключительно информационный характер