Назад

Оригинальные каталоги

zoom-in zoom-out enlarge shrink circle-right circle-left file-text2 info cart
Номер Наименование Цена
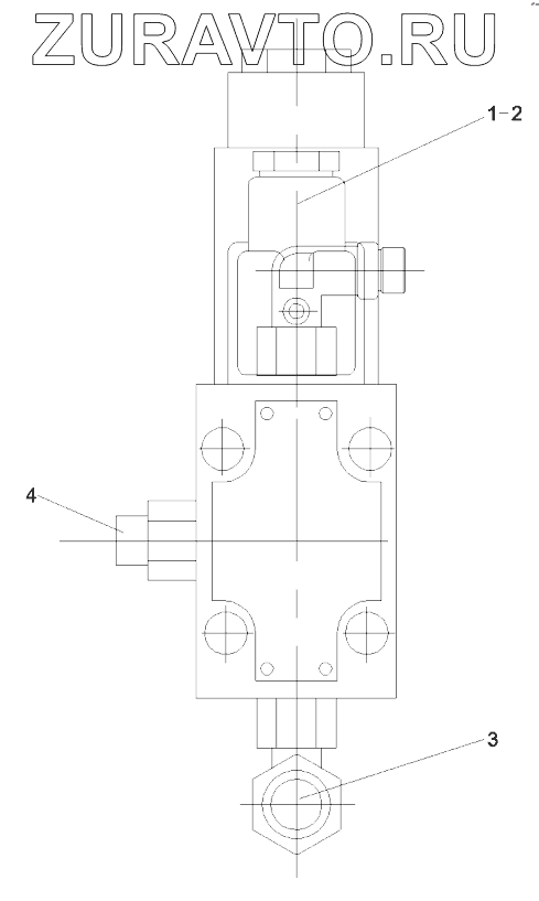
1 B220402000007 Valve, electromagnetic Нет в продаже
2 10138456 Seat, solenoid valve Нет в продаже
3 A229900002568 Connector, pipe Нет в продаже
4 A229900002495 Connector, pipe Нет в продаже
1
2
3
4
100%
Содержащиеся в справочниках-каталогах запасные части и детали носят исключительно информационный характер