Оригинальные каталоги
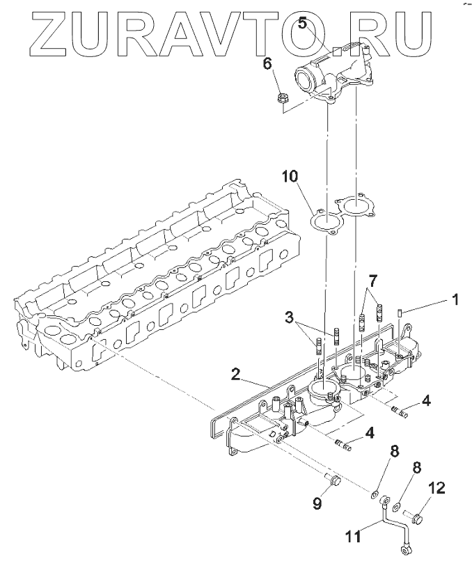
| № | Номер | Наименование | Цена | |
|---|---|---|---|---|
| 1 | B229900005066 | Dowel | Нет в продаже |
|
| 2 | B229900004348 | Gasket | Нет в продаже |
|
| 3 | B229900005001 | Stud | Нет в продаже |
|
| 4 | B229900005000 | Stud | Нет в продаже |
|
| 5 | B229900004353 | Manifold, Air Inlet | Нет в продаже |
|
| 6 | B229900004799 | Nut | Нет в продаже |
|
| 7 | B229900005005 | Stud | Нет в продаже |
|
| 8 | B229900004569 | Shim | Нет в продаже |
|
| 9 | B229900004897 | Bolt | Нет в продаже |
|
| 10 | B229900004561 | Gasket | Нет в продаже |
|
| 11 | B229900004293 | Tube | Нет в продаже |
|
| 12 | B229900004739 | Link Bolt | Нет в продаже |
|
1
2
3
4
4
5
6
7
8
8
9
10
11
12
Содержащиеся в справочниках-каталогах запасные части и детали носят исключительно информационный характер