Оригинальные каталоги
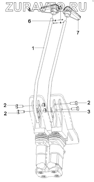
| № | Номер | Наименование | Цена | |
|---|---|---|---|---|
| 1 | 10587365 | Lever, control | Нет в продаже |
|
| 2 | A210111000197 | Bolt | Нет в продаже |
|
| 3 | A210307000036 | Nut | Нет в продаже |
|
| 4 | 12688927 | Handle, left | Нет в продаже |
|
| 5 | A210210000030 | Screw | Нет в продаже |
|
| 6 | A210405000004 | Washer | Нет в продаже |
|
| 7 | 12691132 | Handle, right | Нет в продаже |
|
1
2
2
2
3
4
5
6
7
Содержащиеся в справочниках-каталогах запасные части и детали носят исключительно информационный характер