Оригинальные каталоги
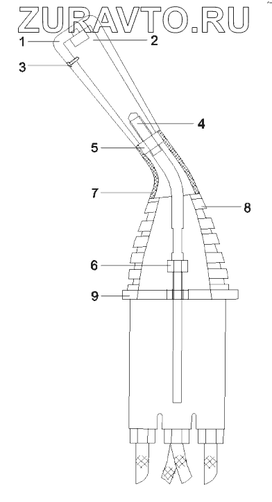
| № | Номер | Наименование | Цена | |
|---|---|---|---|---|
| 1 | B229900001613 | Joystick, left | Нет в продаже |
|
| 2 | 60116344 | Insertion piece | Нет в продаже |
|
| 3 | A210264000022 | Screw, self-tapping | Нет в продаже |
|
| 4 | Modification or other | Valve, foot | Нет в продаже |
|
| 5 | A210308000006 | Nut | Нет в продаже |
|
| 6 | A210307000001 | Nut | Нет в продаже |
|
| 7 | A229900006446 | Hood | Нет в продаже |
|
| 8 | A229900001028 | Hood | Нет в продаже |
|
| 9 | A229900001027 | Plate | Нет в продаже |
|
1
2
3
4
5
6
7
8
9
Содержащиеся в справочниках-каталогах запасные части и детали носят исключительно информационный характер