Оригинальные каталоги
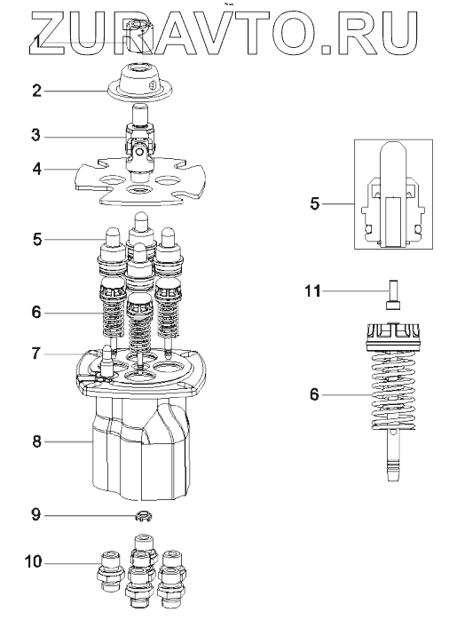
| № | Номер | Наименование | Цена | |
|---|---|---|---|---|
| 1 | 60084854 | Nut | Нет в продаже |
|
| 2 | 60084842 | Disc, swing | Нет в продаже |
|
| 3 | 60084849 | Universal joint GP | Нет в продаже |
|
| 4 | 60084846 | Plate, fixing | Нет в продаже |
|
| 5 | 60084852 | Plunger GP | Нет в продаже |
|
| 6 | 60084843 | Spool GP, control valve | Нет в продаже |
|
| 7 | 60084855 | Conduit, wire | Нет в продаже |
|
| 8 | 60084844 | Body, pilot valve | Нет в продаже |
|
| 9 | 60084856 | Limiter, current | Нет в продаже |
|
| 10 | 60084847 | Body, adapter | Нет в продаже |
|
| 11 | 60084850 | Pin | Нет в продаже |
|
1
2
3
4
5
5
6
6
7
8
9
10
11
Содержащиеся в справочниках-каталогах запасные части и детали носят исключительно информационный характер