Оригинальные каталоги
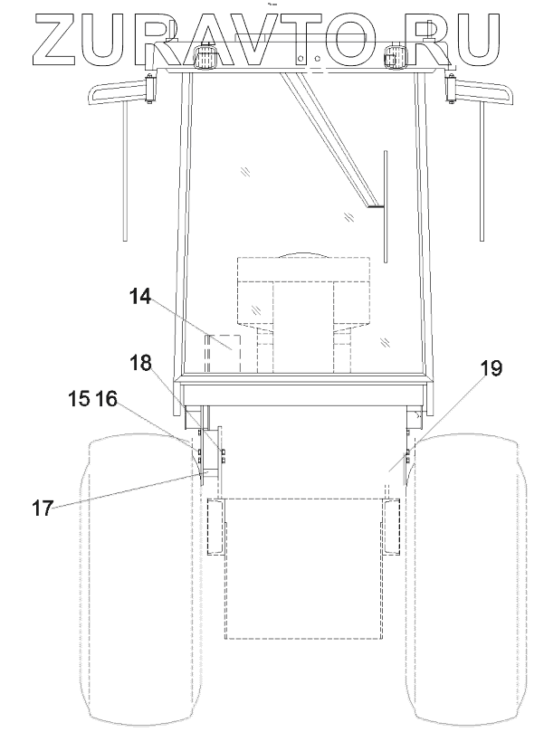
| № | Номер | Наименование | Цена | |
|---|---|---|---|---|
| 14 | 10195774 | Cabinet, electric control | Нет в продаже |
|
| 15 | A210111000227 | Bolt, M16x30 GB5783 | Нет в продаже |
|
| 16 | A210401000004 | Washer | Нет в продаже |
|
| 17 | A820606030314 | Shock absorber | Нет в продаже |
|
| 18 | A210111000100 | Bolt | Нет в продаже |
|
| 19 | A820101011551 | Plate, blanking | Нет в продаже |
|
14
15
16
17
18
19
Содержащиеся в справочниках-каталогах запасные части и детали носят исключительно информационный характер