Оригинальные каталоги
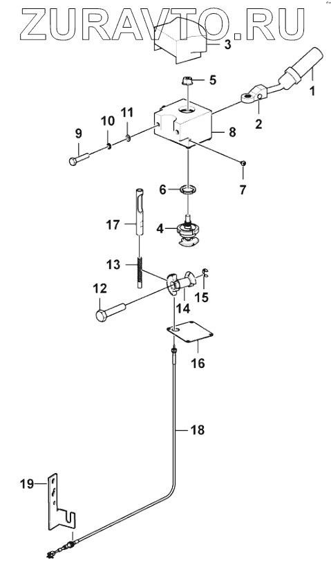
| № | Номер | Наименование | Цена | |
|---|---|---|---|---|
| 1 | 4110001680001 | Handle ball | Нет в продаже |
|
| 2 | 4110001514002 | Handle | Нет в продаже |
|
| 3 | 4110001680003 | Cover | Нет в продаже |
|
| 4 | 4110001680004 | Shaft | Нет в продаже |
|
| 5 | 4110000659005 | Nut | Нет в продаже |
|
| 6 | 4110000172027 | Nut | Нет в продаже |
|
| 7 | 4110002752001 | Screw | Нет в продаже |
|
| 8 | 4110001680005 | Cover | Нет в продаже |
|
| 9 | 4011000724 | BOLT GB5783-M8x25-8.8 | Нет в продаже |
|
| 10 | 28100003661 | Washer | Нет в продаже |
|
| 11 | 4015000072 | WASHER | Нет в продаже |
|
| 12 | 4110000172030 | Pin | Нет в продаже |
|
| 13 | 4110000172031 | Gear rack | Нет в продаже |
|
| 14 | 4110001680006 | Gear sleeve | Нет в продаже |
|
| 15 | 4015000125 | Retaining ring | Нет в продаже |
|
| 16 | 4110001680007 | Cover | Нет в продаже |
|
| 17 | 4110001680008 | Rack sleeve | Нет в продаже |
|
| 18 | 4110001514001 | Control cable | Нет в продаже |
|
| 19 | 4110002752002 | Bracket | Нет в продаже |
|
1
2
3
4
5
6
7
8
9
10
11
12
13
14
15
16
17
18
19
Содержащиеся в справочниках-каталогах запасные части и детали носят исключительно информационный характер