Назад

Оригинальные каталоги

zoom-in zoom-out enlarge shrink circle-right circle-left file-text2 info cart
Номер Наименование Цена
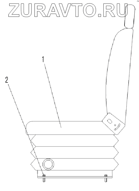
1 4190000072 DRIVER SEAT CS-B Нет в продаже
2 4011000458 BOLT Нет в продаже
1
2
100%
Содержащиеся в справочниках-каталогах запасные части и детали носят исключительно информационный характер