Назад

Оригинальные каталоги

zoom-in zoom-out enlarge shrink circle-right circle-left file-text2 info cart
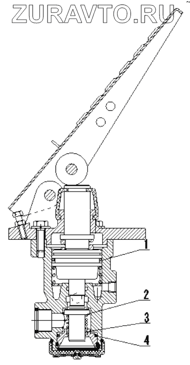
Номер Наименование Цена
1 4120001795002 O-RING Нет в продаже
2 4120001795003 VALVE ASS’Y Нет в продаже
3 4120001795004 SEALING WASHER Нет в продаже
4 4120001795005 O-RING Нет в продаже
1
2
3
4
100%
Содержащиеся в справочниках-каталогах запасные части и детали носят исключительно информационный характер