Оригинальные каталоги
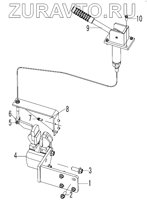
| № | Номер | Наименование | Цена | |
|---|---|---|---|---|
| 1 | 29230001051 | BRACKET | Нет в продаже |
|
| 2 | 4011000479 | BOLT | Нет в продаже |
|
| 3 | 4011000148 | BOLT | Нет в продаже |
|
| 4 | 4120000087 | HAND BRAKE | Нет в продаже |
|
| 5 | 4016000145 | PIN | Нет в продаже |
|
| 6 | 4016000183 | PIN | Нет в продаже |
|
| 7 | 4011000461 | BOLT | Нет в продаже |
|
| 8 | 29230001021 | FIXED FREME | Нет в продаже |
|
| 9 | 4190000308 | MANIPULATIVE FRAMEWORK | Нет в продаже |
|
| 10 | 4011000455 | BOLT | Нет в продаже |
|
1
2
3
4
5
6
7
8
9
10
Содержащиеся в справочниках-каталогах запасные части и детали носят исключительно информационный характер