Оригинальные каталоги
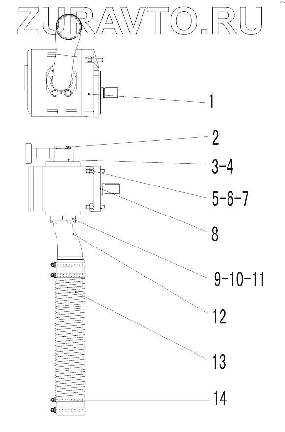
| № | Номер | Наименование | Цена | |
|---|---|---|---|---|
| 1 | 4120000684 | GEAR PUMP | Нет в продаже |
|
| 2 | 4011000473 | BOLT | Нет в продаже |
|
| 3 | 29110001021 | OUT-OIL TUBE | Нет в продаже |
|
| 4 | 4030000029 | O-RING | Нет в продаже |
|
| 5 | 4012000003 | DOUBLE-SCREW BOLT | Нет в продаже |
|
| 6 | 4013000011 | NUT | Нет в продаже |
|
| 7 | 4015000168 | WASHER | Нет в продаже |
|
| 8 | 29110000041 | SEALING WASHER | Нет в продаже |
|
| 9 | 4030000133 | O-RING | Нет в продаже |
|
| 10 | 4041000009 | FLANGE | Нет в продаже |
|
| 11 | 4011000320 | BOLT | Нет в продаже |
|
| 12 | 29110001061 | INTAKE OIL TUBE OF PUMP | Нет в продаже |
|
| 13 | 4120000683 | Hose assembly | Нет в продаже |
|
| 14 | 4017000006 | CLAM JB8870-d100 | Нет в продаже |
|
1
2
3
4
5
6
7
8
9
10
11
12
13
14
Содержащиеся в справочниках-каталогах запасные части и детали носят исключительно информационный характер