Назад

Оригинальные каталоги

zoom-in zoom-out enlarge shrink circle-right circle-left file-text2 info cart
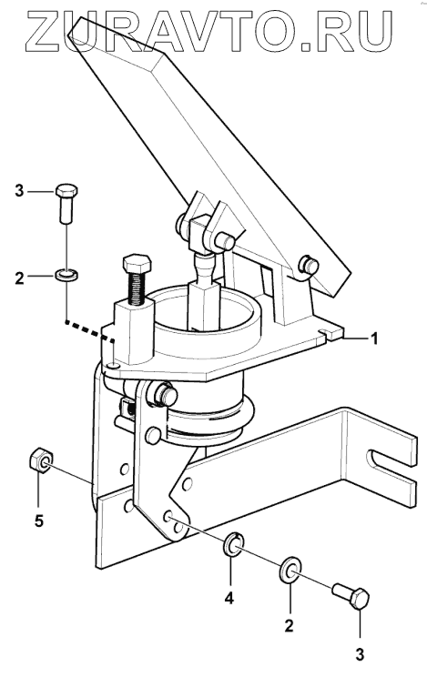
Номер Наименование Цена
1 4110001526 Pedal Нет в продаже
2 4015000035 WASHER Нет в продаже
3 4011000101 BOLT Нет в продаже
4 4015000207 WASHER Нет в продаже
5 4013000028 NUT Нет в продаже
1
2
2
3
3
4
5
100%
Содержащиеся в справочниках-каталогах запасные части и детали носят исключительно информационный характер