Оригинальные каталоги
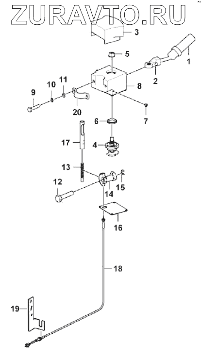
| № | Номер | Наименование | Цена | |
|---|---|---|---|---|
| 1 | 4110001680001 | Handle ball | Нет в продаже |
|
| 2 | 4110001488001 | Handle | Нет в продаже |
|
| 3 | 4110001680003 | Cover | Нет в продаже |
|
| 4 | 4110001680004 | Shaft | Нет в продаже |
|
| 5 | 4110000172026 | Nut | Нет в продаже |
|
| 6 | 4110000172027 | Nut | Нет в продаже |
|
| 7 | 4110000746004 | Bolt | Нет в продаже |
|
| 8 | 4110001680005 | Cover | Нет в продаже |
|
| 9 | 4190002767014 | Bolt lgh9180010 m81.25-25 | Нет в продаже |
|
| 10 | 4110002042020 | Washer | Нет в продаже |
|
| 11 | 4110002042019 | Washer | Нет в продаже |
|
| 12 | 4110000172030 | Pin | Нет в продаже |
|
| 13 | 4110000172031 | Gear rack | Нет в продаже |
|
| 14 | 4110001680006 | Gear sleeve | Нет в продаже |
|
| 15 | 4110000172032 | Retaining ring | Нет в продаже |
|
| 16 | 4110001680007 | Cover | Нет в продаже |
|
| 17 | 4110001680008 | Rack sleeve | Нет в продаже |
|
| 18 | 4110001488002 | Control cable | Нет в продаже |
|
| 19 | 4110002868001 | Bracket | Нет в продаже |
|
| 20 | 4110002868002 | Plate | Нет в продаже |
|
1
2
3
4
5
6
7
8
9
10
11
12
13
14
15
16
17
18
19
20
Содержащиеся в справочниках-каталогах запасные части и детали носят исключительно информационный характер