Оригинальные каталоги
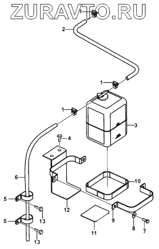
| № | Номер | Наименование | Цена | |
|---|---|---|---|---|
| 1 | 4017000040 | Clamp | Нет в продаже |
|
| 2 | 4090000287 | Hose | Нет в продаже |
|
| 3 | 4110002088 | Expansion tank | Нет в продаже |
|
| 4 | 4011000309 | BOLT | Нет в продаже |
|
| 5 | 29370017311 | Clamp | Нет в продаже |
|
| 6 | 4090000290 | Hose | Нет в продаже |
|
| 7 | 4011000105 | BOLT | Нет в продаже |
|
| 8 | 4015000256 | WASHER | Нет в продаже |
|
| 9 | 29030020141 | Bracket | Нет в продаже |
|
| 10 | 29030021771 | Sponge | Нет в продаже |
|
| 11 | 29030021781 | Sponge | Нет в продаже |
|
| 12 | 29030020151 | Bracket | Нет в продаже |
|
| 13 | 4011000461 | BOLT | Нет в продаже |
|
1
1
1
2
3
4
5
6
7
8
9
10
11
12
13
13
Содержащиеся в справочниках-каталогах запасные части и детали носят исключительно информационный характер