Оригинальные каталоги
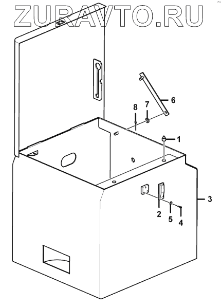
| № | Номер | Наименование | Цена | |
|---|---|---|---|---|
| 1 | 29340009101 | RUBBER PLUG | Нет в продаже |
|
| 2 | 4190000025 | LOCK | Нет в продаже |
|
| 3 | 29340015131 | Tool box | Нет в продаже |
|
| 4 | 4014000023 | SCREW | Нет в продаже |
|
| 5 | 4015000110 | WASHER | Нет в продаже |
|
| 6 | 29340009091 | LINK ASSEM | Нет в продаже |
|
| 7 | 4015000168 | WASHER | Нет в продаже |
|
| 8 | 4016000035 | SPLIT PIN | Нет в продаже |
|
1
2
3
4
5
6
7
8
Содержащиеся в справочниках-каталогах запасные части и детали носят исключительно информационный характер