Оригинальные каталоги
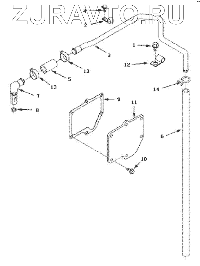
| № | Номер | Наименование | Цена | |
|---|---|---|---|---|
| 1 | 4110000081153 | SCREW, HEX FLANGE HEAD | Нет в продаже |
|
| 2 | 4110000081092 | CLIP C3907741 | Нет в продаже |
|
| 3 | 4110000081255 | TUBE,BREATHER C3909669 | Нет в продаже |
|
| 4 | 4110000081336 | SCREW, SELF TAPPING MET | Нет в продаже |
|
| 5 | 4110000081256 | HOSE,PLAIN C3918616 | Нет в продаже |
|
| 6 | 4110000081325 | HOSE, PLAIN C3930827 | Нет в продаже |
|
| 7 | 4110000081282 | CONNECTION, VENT C3 935113 | Нет в продаже |
|
| 8 | 4110000081130 | SEAL, RECTANGULAR RING C3936331 | Нет в продаже |
|
| 9 | 4110000081254 | GASKET,BREATHER C3970886 | Нет в продаже |
|
| 10 | 4110000081178 | SCREW HEX FLANGE HEAD | Нет в продаже |
|
| 11 | 4110000081087 | PLATE,COVER C4940384 | Нет в продаже |
|
| 12 | 4110000081093 | CLIP C70622 | Нет в продаже |
|
| 13 | 4110000081094 | CLAMP,HOSE D3937613 | Нет в продаже |
|
| 14 | 4110000081089 | CLAMP,SPRING HOST Q67226 | Нет в продаже |
|
1
2
3
4
5
6
7
8
9
10
11
12
13
13
14
Содержащиеся в справочниках-каталогах запасные части и детали носят исключительно информационный характер