Назад

Оригинальные каталоги

zoom-in zoom-out enlarge shrink circle-right circle-left file-text2 info cart
Номер Наименование Цена
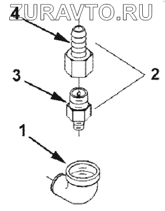
1 4110000081292 ELBOW,MALE APAPTER С3629097 Нет в продаже
2 4110000081117 VALVE,CHECK C3974262 Нет в продаже
3 4110000081115 VALVE,CHECK C3911901 Нет в продаже
4 4110000081329 COUPLING, PLAIN HOSE C3911925 Нет в продаже
1
2
3
4
100%
Содержащиеся в справочниках-каталогах запасные части и детали носят исключительно информационный характер