Оригинальные каталоги
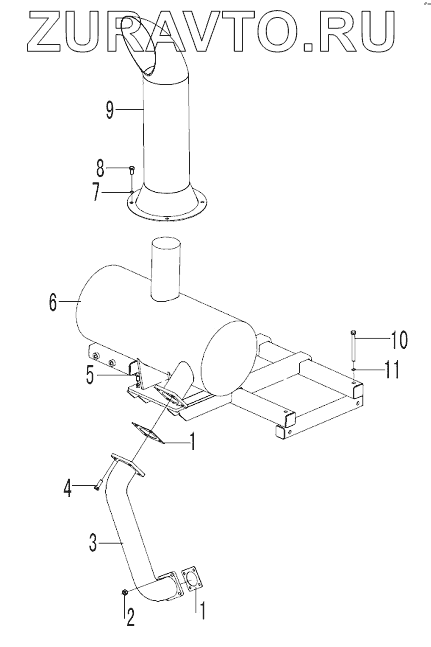
| № | Номер | Наименование | Цена | |
|---|---|---|---|---|
| 1 | 4110000888 | Gasket | Нет в продаже |
|
| 2 | 4013000189 | Lock nut | Нет в продаже |
|
| 3 | 29010040291 | Exhaust pipe | Нет в продаже |
|
| 4 | 4011000164 | BOLT | Нет в продаже |
|
| 5 | 4011000084 | BOLT | Нет в продаже |
|
| 6 | 4110001848 | Air silencer | Нет в продаже |
|
| 7 | 4011000081 | BOLT | Нет в продаже |
|
| 8 | 4015000162 | Washer | Нет в продаже |
|
| 9 | 4110001754 | Pipe | Нет в продаже |
|
| 10 | 4011000057 | BOLT | Нет в продаже |
|
| 11 | 4015000168 | WASHER | Нет в продаже |
|
1
1
2
3
4
5
6
7
8
9
10
11
Содержащиеся в справочниках-каталогах запасные части и детали носят исключительно информационный характер