Оригинальные каталоги
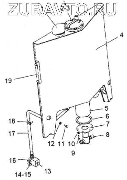
| № | Номер | Наименование | Цена | |
|---|---|---|---|---|
| 1 | 5367859 | Fill breather | Нет в продаже |
|
| 2 | B040911020 | Bolt | Нет в продаже |
|
| 3 | 5189745 | Washer | Нет в продаже |
|
| 4 | 5529794 | Hydraulic oil box assembly | Нет в продаже |
|
| 5 | 5363942 | Oil filter filter | Нет в продаже |
|
| 5 | 5541312 | Srfa | Нет в продаже |
|
| 6 | 5358011 | Filter opening sealing washer | Нет в продаже |
|
| 7 | 5529804 | Return oil flange group | Нет в продаже |
|
| 8 | 5541304 | Long closed pressure hair | Нет в продаже |
|
| 9 | 5188387 | Bolt | Нет в продаже |
|
| 10 | 5189744 | Washer | Нет в продаже |
|
| 11 | 5533558 | Screw | Нет в продаже |
|
| 12 | 5184410 | Washer | Нет в продаже |
|
| 13 | MG19007022 | Oil drain core | Нет в продаже |
|
| 14 | B040911030 | Bolt | Нет в продаже |
|
| 15 | 5547448 | Washer | Нет в продаже |
|
| 16 | 5529811 | Oil drain assembly | Нет в продаже |
|
| 17 | 5529800 | Oil drain hose assembly | Нет в продаже |
|
| 18 | 5573326 | Clip | Нет в продаже |
|
| 19 | 5367850 | Level gauge | Нет в продаже |
|
1
2
3
4
5
5
6
7
8
9
10
11
12
13
14
15
16
17
18
19
Содержащиеся в справочниках-каталогах запасные части и детали носят исключительно информационный характер