- Каталоги запчастей к технике
- Спецтехника
- SEM
- SEM921
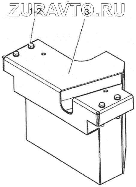
- Counterweight Assembly (Rear)
| № |
Номер |
Наименование |
Цена |
|
|
1 |
5243272
|
Bolt |
Нет в продаже
|
|
|
2 |
5184422
|
Washer |
Нет в продаже
|
|
|
3 |
5540598
|
Counterweight assembly |
Нет в продаже
|
|
1
2
3
Содержащиеся в справочниках-каталогах запасные части и детали носят исключительно информационный характер