Оригинальные каталоги
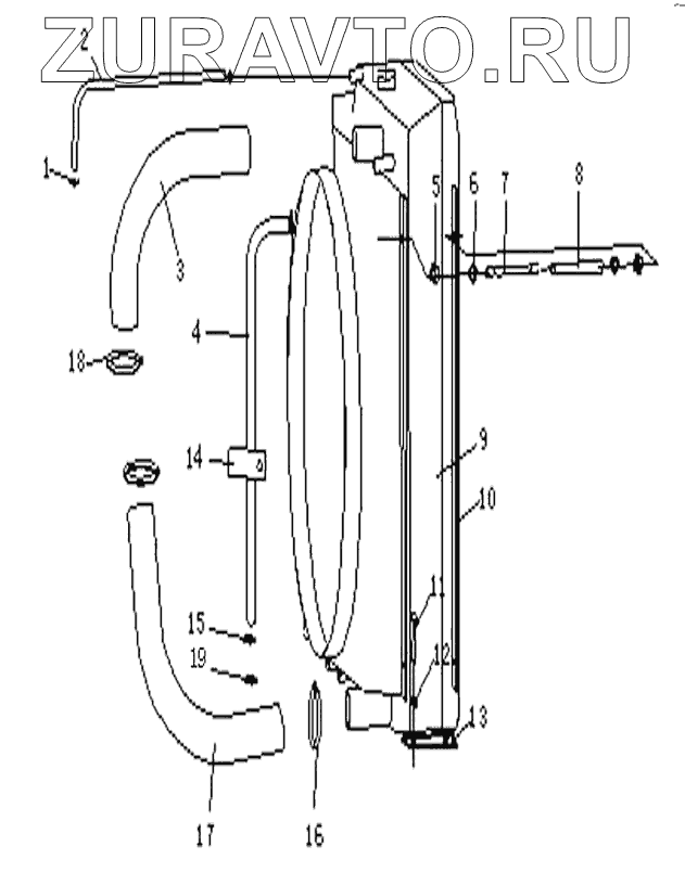
| № | Номер | Наименование | Цена | |
|---|---|---|---|---|
| 1 | 07281-00197 | Зажим | Нет в продаже |
|
| 2 | 07260-20600 | Hose | Нет в продаже |
|
| 3 | 254-03-00001 | Tube | Нет в продаже |
|
| 4 | 07261-22011 | Hose | Нет в продаже |
|
| 5 | 01580-11008 | Гайка | Нет в продаже |
|
| 6 | 01643-31032 | Шайба | Нет в продаже |
|
| 7 | 254-03-00004 | Screw | Нет в продаже |
|
| 8 | 254-03-00003 | Drum | Нет в продаже |
|
| 9 | 248-03-01000 | Water tank | Нет в продаже |
|
| 10 | 248-03-02000 | Bracket | Нет в продаже |
|
| 11 | 01010-51240 | Болт | Нет в продаже |
|
| 12 | 01643-31232 | Шайба | Нет в продаже |
|
| 13 | 263-04-00004 | Spacer | Нет в продаже |
|
| 14 | 08035-13010 | Clip | Нет в продаже |
|
| 15 | 07281-00359 | clip | Нет в продаже |
|
| 16 | 07281-00909 | Зажим | Нет в продаже |
|
| 17 | 254-03-00002 | Tube | Нет в продаже |
|
| 18 | 07281-00609 | Зажим | Нет в продаже |
|
| 19 | 254-03-00005 | Nipple | Нет в продаже |
|
1
2
3
4
5
6
7
8
9
10
11
12
13
14
15
16
17
18
19
Содержащиеся в справочниках-каталогах запасные части и детали носят исключительно информационный характер