Оригинальные каталоги
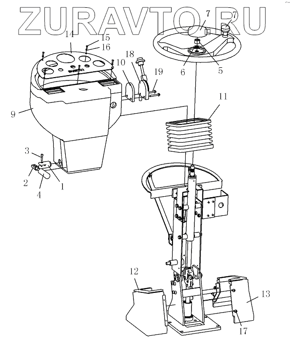
| № | Номер | Наименование | Цена | |
|---|---|---|---|---|
| 1 | 263-07-10107 | Handgrip | Нет в продаже |
|
| 2 | 263-07-10108 | Pin shaft | Нет в продаже |
|
| 3 | 01252-70625 | Bolt | Нет в продаже |
|
| 4 | 263-07-10109 | Handgrip | Нет в продаже |
|
| 5 | 01580-11613 | nut | Нет в продаже |
|
| 6 | 01640-21616 | Washer | Нет в продаже |
|
| 7 | 263-07-10100 | Steering wheel | Нет в продаже |
|
| 9 | 263-07-10080 | Cover | Нет в продаже |
|
| 10 | 263-07-10207 | Pad | Нет в продаже |
|
| 11 | 263-07-10208 | Rubber cover | Нет в продаже |
|
| 12 | 263-07-10209 | Cover | Нет в продаже |
|
| 13 | 263-07-10210 | Cover | Нет в продаже |
|
| 14 | 263-07-10211 | Meter panel | Нет в продаже |
|
| 15 | 01220-40416 | Bolt | Нет в продаже |
|
| 16 | 01641-20405 | Шайба | Нет в продаже |
|
| 17 | 01370-00410 | Bolt | Нет в продаже |
|
| 18 | 263-05-02000 | Pedal | Нет в продаже |
|
| 19 | 01016-50645 | Bolt | Нет в продаже |
|
1
2
3
4
5
6
7
7
9
10
11
12
13
14
15
16
17
18
19
Содержащиеся в справочниках-каталогах запасные части и детали носят исключительно информационный характер