Оригинальные каталоги
| № | Номер | Наименование | Цена | |
|---|---|---|---|---|
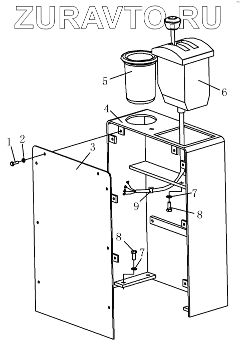
| 1 | 01220-30512 | Болт | Нет в продаже |
|
| 2 | 01642-20508 | Washer | Нет в продаже |
|
| 3 | 263-25-03001 | Plate | Нет в продаже |
|
| 4 | 263-25-01100 | Box body | Нет в продаже |
|
| 5 | 263-25-00001 | Rubber cover | Нет в продаже |
|
| 6 | 263-25-02000 | Handle | Нет в продаже |
|
| 7 | 01643-30823 | Шайба | Нет в продаже |
|
| 8 | 01010-50816 | Болт | Нет в продаже |
|
| 9 | 08034-20519 | Hoop | Нет в продаже |
|
1
2
3
4
5
6
7
7
8
8
9
Содержащиеся в справочниках-каталогах запасные части и детали носят исключительно информационный характер