Оригинальные каталоги
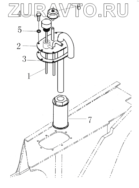
| № | Номер | Наименование | Цена | |
|---|---|---|---|---|
| 1 | 410-60-01000 | dipstick | Нет в продаже |
|
| 2 | 410-60-02000 | cover plate ass’y | Нет в продаже |
|
| 3 | 410-04-00001 | packing | Нет в продаже |
|
| 4 | 01010-P0816 | bolt | Нет в продаже |
|
| 5 | 01642-20810 | Шайба | Нет в продаже |
|
| 6 | 07030-00252 | Аэратор | Нет в продаже |
|
| 7 | 411-60-04000 | strainer | Нет в продаже |
|
1
2
3
4
5
6
7
Содержащиеся в справочниках-каталогах запасные части и детали носят исключительно информационный характер