Оригинальные каталоги
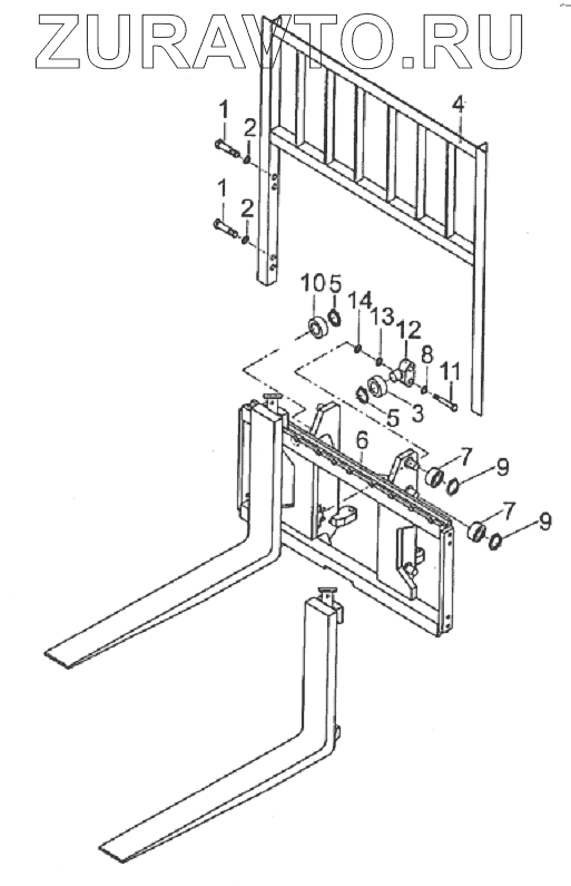
| № | Номер | Наименование | Цена | |
|---|---|---|---|---|
| 1 | 01050-51425 | Bolt | Нет в продаже |
|
| 2 | 01643-31425 | Washer | Нет в продаже |
|
| 3 | 418-80-07200 | Spacing roller | Нет в продаже |
|
| 4 | 416-80-02000 | Backrest | Нет в продаже |
|
| 5 | 04064-02512 | Открытое кольцо | Нет в продаже |
|
| 6 | 411-80-07000 | Lift bracket | Нет в продаже |
|
| 7 | 411-80-06300 | Pulley | Нет в продаже |
|
| 8 | 01643-31645 | Шайба | Нет в продаже |
|
| 9 | 04064-05020 | Кольцо стопорное | Нет в продаже |
|
| 10 | 416-80-05001 | Roller | Нет в продаже |
|
| 11 | 01010-51270 | Болт | Нет в продаже |
|
| 12 | 416-80-07002 | Shaft, spacing roller | Нет в продаже |
|
| 13 | 411-80-05002 | Shim | Нет в продаже |
|
| 14 | 411-80-05003 | Shim | Нет в продаже |
|
1
1
2
2
3
4
5
5
6
7
7
8
9
9
10
11
12
13
14
Содержащиеся в справочниках-каталогах запасные части и детали носят исключительно информационный характер