Оригинальные каталоги
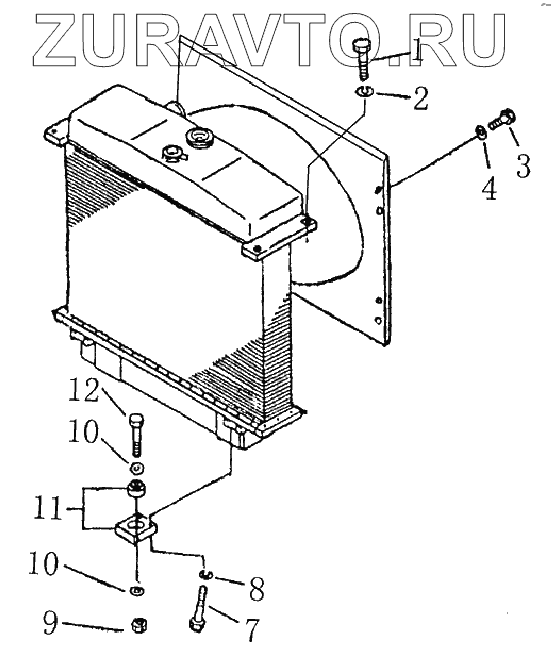
| № | Номер | Наименование | Цена | |
|---|---|---|---|---|
| 1 | 01010-51445 | Болт | Нет в продаже |
|
| 2 | 01602-21442 | Рессорная шайба | Нет в продаже |
|
| 3 | 01010-51040 | Болт | Нет в продаже |
|
| 4 | 01643-31032 | Шайба | Нет в продаже |
|
| 7 | 01010-51240 | Болт | Нет в продаже |
|
| 8 | 01602-21236 | Рессорная шайба | Нет в продаже |
|
| 9 | 01582-12218 | Гайка | Нет в продаже |
|
| 10 | 01643-32260 | Шайба | Нет в продаже |
|
| 11 | 16Y-03B-03000 | Демпфер | Нет в продаже |
|
| 12 | 01091-52205 | Болт | Нет в продаже |
|
1
2
3
4
7
8
9
10
10
11
12
Содержащиеся в справочниках-каталогах запасные части и детали носят исключительно информационный характер