Оригинальные каталоги
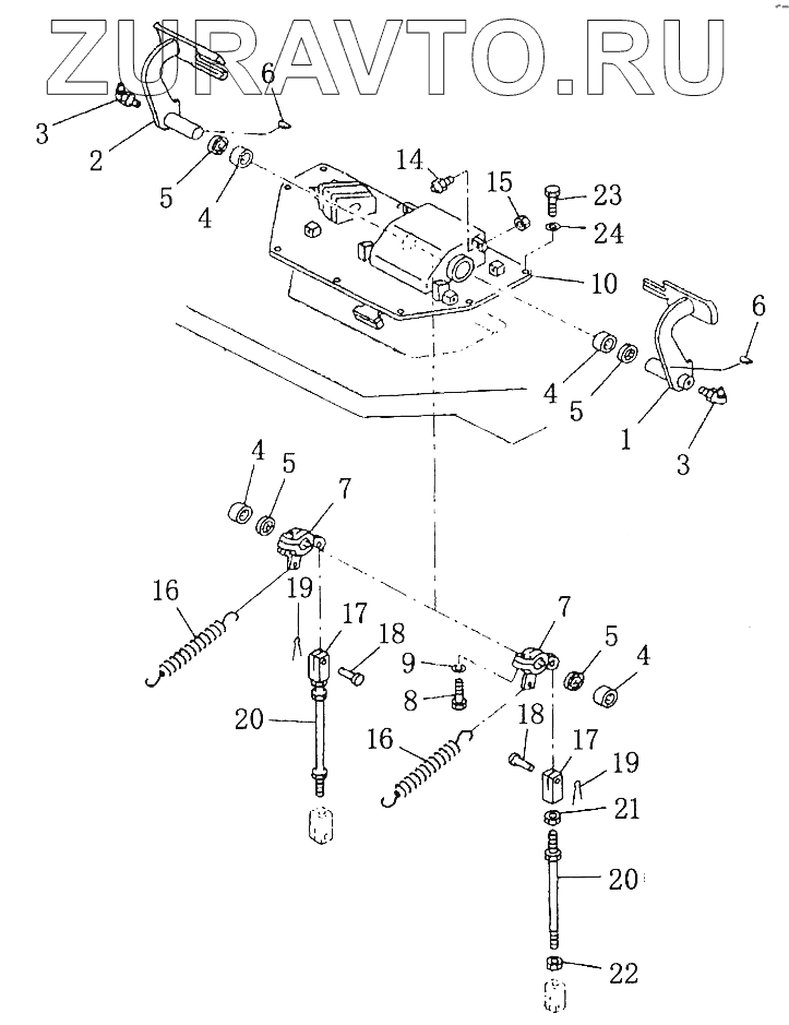
| № | Номер | Наименование | Цена | |
|---|---|---|---|---|
| 1 | 154-43-41130 | Педаль тормоза | Нет в продаже |
|
| 2 | 154-43-41140 | Педаль тормоза | Нет в продаже |
|
| 3 | 0702/-01090 | Fitting grease | Нет в продаже |
|
| 4 | 06120-03520 | Игольчатый подшипник | Нет в продаже |
|
| 5 | 06122-03504 | Пылеулавливающее кольцо | Нет в продаже |
|
| 6 | 04010-01032 | Сегментная шпонка | Нет в продаже |
|
| 7 | 154-43-41150 | Рычаг | Нет в продаже |
|
| 8 | 01010-51245 | Болт | Нет в продаже |
|
| 9 | 01602-21236 | Рессорная шайба | Нет в продаже |
|
| 10 | 15A-43-11141 | Bracket | Нет в продаже |
|
| 11 | 154-43-4И22 | Cover | Нет в продаже |
|
| 12 | 01010-51225 | Болт | Нет в продаже |
|
| 13 | 01643-31232 | Шайба | Нет в продаже |
|
| 14 | 09311-41237 | Амортизационный болт | Нет в продаже |
|
| 15 | 01580-11210 | Гайка | Нет в продаже |
|
| 16 | 154-43-41260 | Рессора | Нет в продаже |
|
| 17 | 04210-21456 | Вилка | Нет в продаже |
|
| 18 | 04205-11438 | Палец | Нет в продаже |
|
| 19 | 04050-14028 | Разводной шплинт | Нет в продаже |
|
| 20 | 04248-31433 | rod | Нет в продаже |
|
| 21 | 01582-11411 | Гайка | Нет в продаже |
|
| 22 | 01508-41408 | Гайка | Нет в продаже |
|
| 23 | 01010-51230 | Болт | Нет в продаже |
|
| 24 | 01643-31232 | Шайба | Нет в продаже |
|
1
2
3
3
4
4
4
4
5
5
5
5
6
6
7
7
8
9
10
14
15
16
16
17
17
18
18
19
19
20
20
21
22
23
24
Содержащиеся в справочниках-каталогах запасные части и детали носят исключительно информационный характер