Оригинальные каталоги
| № | Номер | Наименование | Цена | |
|---|---|---|---|---|
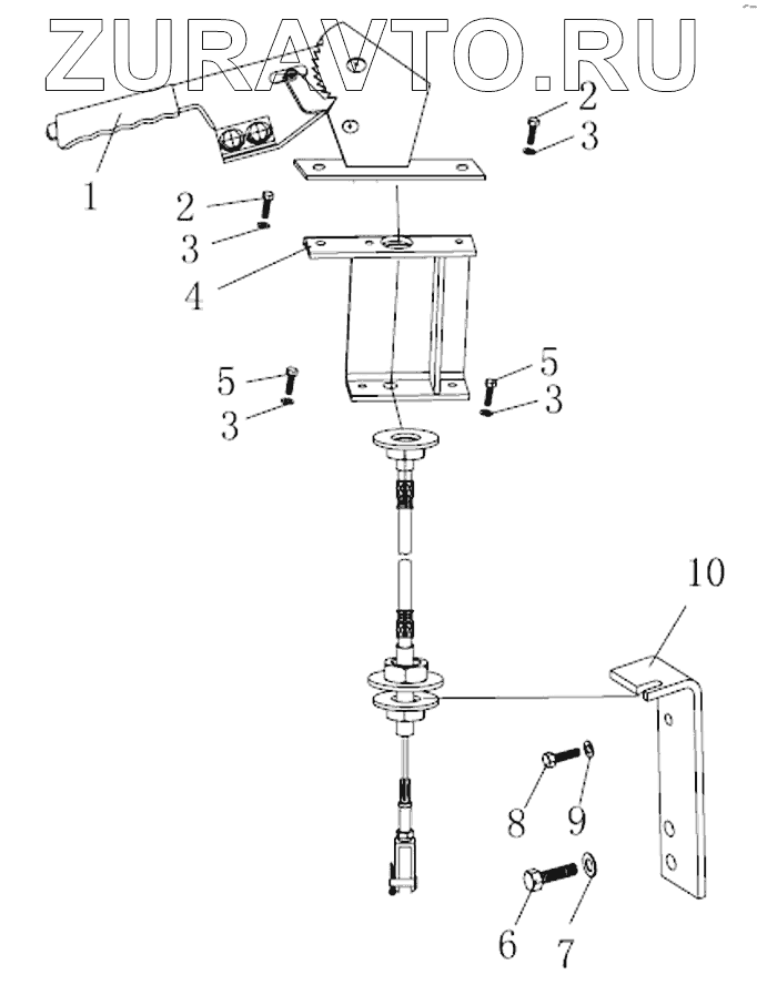
| 1 | 222-17-01000 | Hand brake assy | Нет в продаже |
|
| 2 | 01010-51025 | Болт | Нет в продаже |
|
| 3 | 01640-21016 | Шайба | Нет в продаже |
|
| 4 | 222-17-02000 | Bracket | Нет в продаже |
|
| 5 | 01010-51020 | Болт | Нет в продаже |
|
| 6 | 01010-52035 | Bolt | Нет в продаже |
|
| 7 | 01643-32060 | Шайба | Нет в продаже |
|
| 8 | 01010-51035 | Болт | Нет в продаже |
|
| 9 | 01643-31032 | Шайба | Нет в продаже |
|
| 10 | 221-17-00001 | Plate | Нет в продаже |
|
1
2
2
3
3
3
3
4
5
5
6
7
8
9
10
Содержащиеся в справочниках-каталогах запасные части и детали носят исключительно информационный характер