Оригинальные каталоги
| № | Номер | Наименование | Цена | |
|---|---|---|---|---|
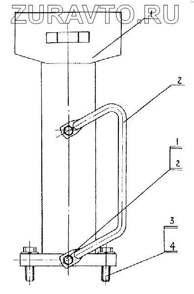
| 1 | 0136054 | Навес в сборе | Нет в продаже |
|
| 2 | 0Т18040 | Ручка | Нет в продаже |
|
| 3 | GB5782-86 | Болт | Нет в продаже |
|
| 4 | GB93-87 | Шайба | Нет в продаже |
|
| 11 | GB5783-86 | Болт | Нет в продаже |
|
| 12 | GB93-87 | Шайба | Нет в продаже |
|
1
2
3
4
11
12
Содержащиеся в справочниках-каталогах запасные части и детали носят исключительно информационный характер