Оригинальные каталоги
| № | Номер | Наименование | Цена | |
|---|---|---|---|---|
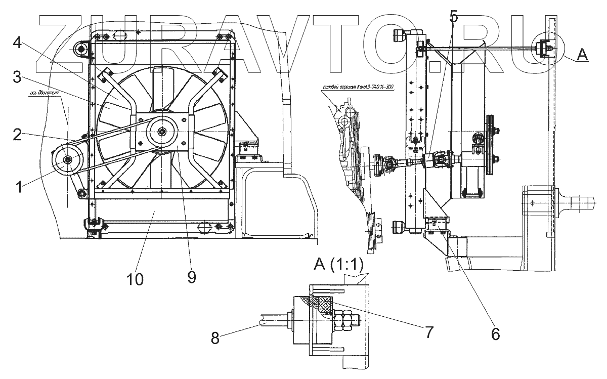
| 4901-1314000 | 4901-1314000 | Радиатор с вентилятором | Нет в продаже |
|
| 5320-1311010-30 | 5320-1311010-30 | 5320-1311010-30 - бачок расширительный 5320-1311010-30 | Нет в продаже |
|
| 1 | 4901-1314300 | Промопора в сборе | Нет в продаже |
|
| 2 | Ремень 11х10х1500 | Ремень | Нет в продаже |
|
| 3 | BWE-TS 020003812 | Крыльчатка вентилятора | Нет в продаже |
|
| 4 | 6520-1301010-01 | Радиатор | Нет в продаже |
|
| 5 | 4901-3436010 | Вал карданный | Нет в продаже |
|
| 6 | 66-1001020 | Подушка | Нет в продаже |
|
| 7 | 63-1801030 | Подушка | Нет в продаже |
|
| 8 | 4901-1308050 | Растяжка | Нет в продаже |
|
| 9 | 4901-1314210 | Узел привода вентилятора | Нет в продаже |
|
| 9 | 4901-1314210-01 | Узел привода вентилятора | Нет в продаже |
|
| 10 | 4901-1314100 | Кожух вентилятора | Нет в продаже |
|
1
2
3
4
5
6
7
8
9
9
10
Содержащиеся в справочниках-каталогах запасные части и детали носят исключительно информационный характер