Оригинальные каталоги
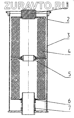
| № | Номер | Наименование | Цена | |
|---|---|---|---|---|
| 1 | ЭО-3323А.08.10.002 | Заглушка | Нет в продаже |
|
| 2 | 23.01.84.301 | Кольцо уплотнительное | Нет в продаже |
|
| 2 | 23.01.84.303 | Кольцо уплотнительное | Нет в продаже |
|
| 2 | Кольцо уплотнительное от фильтра «Реготмас 661-1-05» | Кольцо уплотнительное от фильтра «Реготмас 661-1-05» | Нет в продаже |
|
| 3 | 005-04-80.01.010 | Корпус | Нет в продаже |
|
| 4 | 55Р-661А-1-06 | Элемент фильтрующий | Нет в продаже |
|
| 4 | Реготмас 661-1-05 | Элемент фильтрующий | Нет в продаже |
|
| 5 | 23.01.84.340 | Шайба промежуточная | Нет в продаже |
|
| 6 | 23.01.84.302 | Шайба | Нет в продаже |
|
| 7 | 23.01.84.305 | Пружина | Нет в продаже |
|
1
2
2
2
3
4
4
5
6
7
Содержащиеся в справочниках-каталогах запасные части и детали носят исключительно информационный характер