Оригинальные каталоги
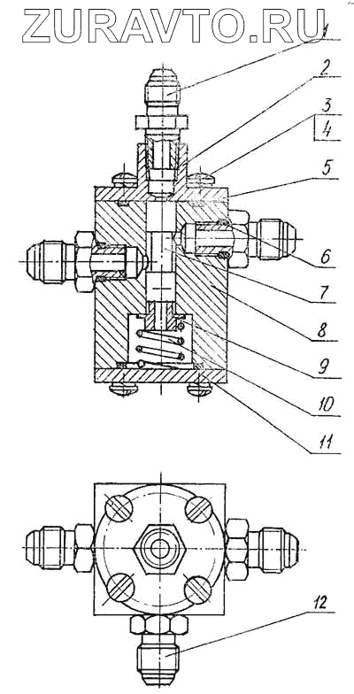
| № | Номер | Наименование | Цена | |
|---|---|---|---|---|
| 1 | ЭО-3322А.24.00.005 | Штуцер | Нет в продаже |
|
| 2 | ЭО-3323.07.10.011 | Крышка | Нет в продаже |
|
| 3 | 27473.М6х8g12.58.019 | Винт | Нет в продаже |
|
| 4 | 6402.6.65Г.019 | Шайба | Нет в продаже |
|
| 5 | 9833.030-035-30-2-3 | Кольцо | Нет в продаже |
|
| 6 | 9833.012-016-25-2-3 | Кольцо | Нет в продаже |
|
| 7 | ЭО-3323.07.10.012 | Золотник | Нет в продаже |
|
| 8 | ЭО-3323.07.10.0!3 | Корпус | Нет в продаже |
|
| 9 | ЭО-3323.07.10.014 | Тарелка | Нет в продаже |
|
| 10 | ЭО-3323.07Л0.015-10 | Пружина | Нет в продаже |
|
| 11 | ЭО-3323.07.10.016 | Крышка | Нет в продаже |
|
| 12 | 520.20.20.025 | Штуцер | Нет в продаже |
|
1
2
3
4
5
6
7
8
9
10
11
12
Содержащиеся в справочниках-каталогах запасные части и детали носят исключительно информационный характер