Оригинальные каталоги
| № | Номер | Наименование | Цена | |
|---|---|---|---|---|
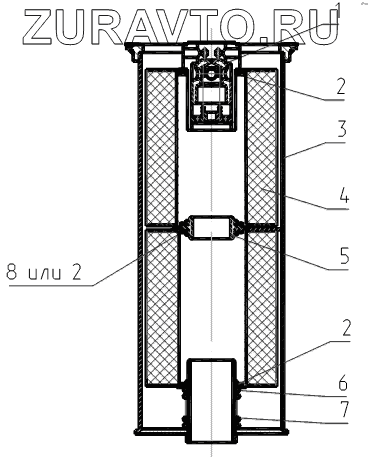
| 1 | РС120-71.80.240 | Клапан предохранительный | Нет в продаже |
|
| 2 | 23.01.84.301 | Кольцо уплотнительное | Нет в продаже |
|
| 2 | 23.01.84.303 | Кольцо уплотнительное | Нет в продаже |
|
| 3 | 005-04-80.01.010 | Корпус | Нет в продаже |
|
| 4 | 661-1-05 | Элемент фильтрующий жидкости г/ систем | Нет в продаже |
|
| 4 | 55P-661А-1-06ТУ55.11224.00 | Элемент фильтрующий | Нет в продаже |
|
| 5 | 23.01.84.340 | Шайба промежуточная | Нет в продаже |
|
| 6 | 23.01.84.302 | Шайба | Нет в продаже |
|
| 7 | 23.01.84.305 | Пружина | Нет в продаже |
|
| 8 | 661-1-05 | Элемент фильтрующий жидкости г/ систем | Нет в продаже |
|
1
2
2
2
2
3
4
4
5
6
7
8
Содержащиеся в справочниках-каталогах запасные части и детали носят исключительно информационный характер