Оригинальные каталоги
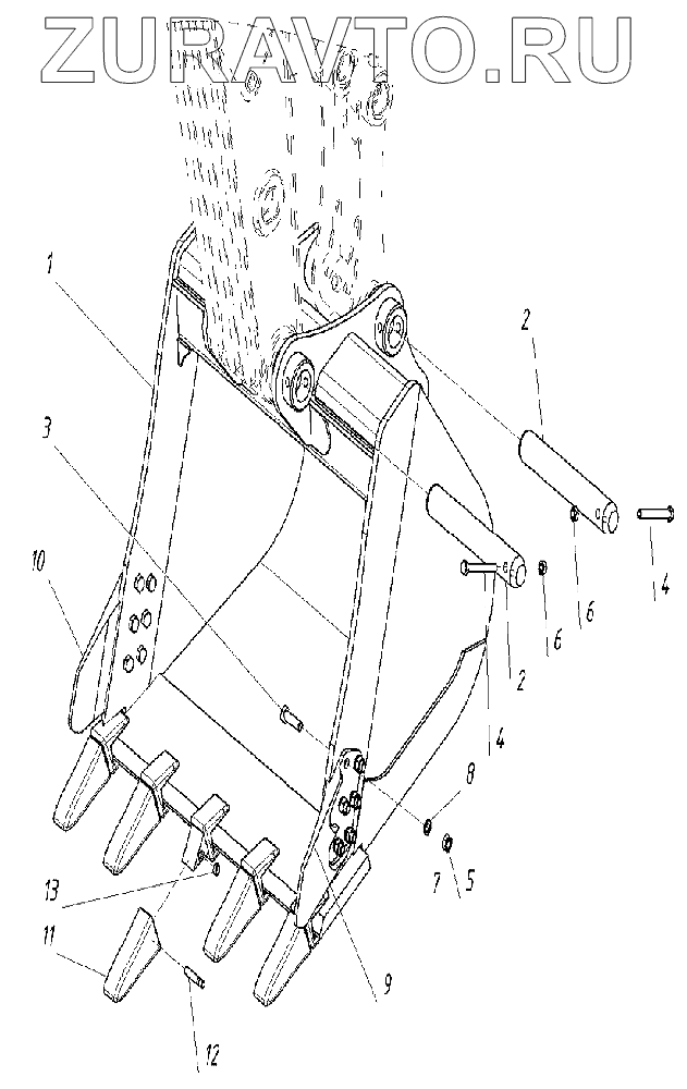
| № | Номер | Наименование | Цена | |
|---|---|---|---|---|
| 1 | 20402010000000 | Ковш | Нет в продаже |
|
| 2 | 20400000010000 | Палец | Нет в продаже |
|
| 3 | 2640073101 | Болт M24-6gx80.109.40X.016 | Нет в продаже |
|
| 4 | 2640069001 | Болт М20-6gх170.109.40Х.019 | Нет в продаже |
|
| 5 | 2641062501 | Гайка М24-7Н.10.40Х.016 | Нет в продаже |
|
| 6 | 2641082001 | Гайка стопорная М20 | Нет в продаже |
|
| 7 | 2644021301 | Шайба 24.65Г.016 | Нет в продаже |
|
| 8 | 2644062401 | Шайба плоская | Нет в продаже |
|
| 9 | 29000842201 | Бокорез | Нет в продаже |
|
| 10 | 29000842101 | Бокорез | Нет в продаже |
|
| 11 | 29000842601 | Коронка | Нет в продаже |
|
| 12 | 29000842501 | Фиксатор | Нет в продаже |
|
| 13 | 29000842701 | Кольцо фиксатора | Нет в продаже |
|
1
2
2
3
4
4
5
6
6
7
8
9
10
11
12
13
Содержащиеся в справочниках-каталогах запасные части и детали носят исключительно информационный характер