Оригинальные каталоги
| № | Номер | Наименование | Цена | |
|---|---|---|---|---|
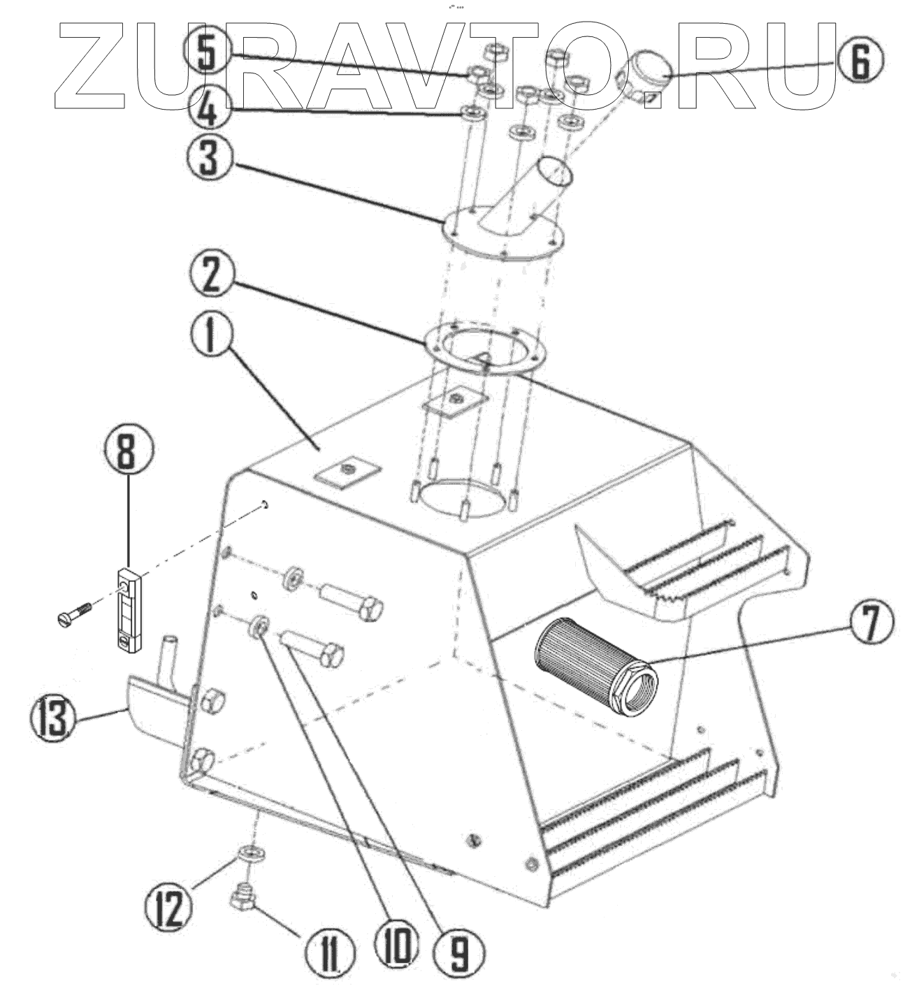
| 1 | 815-00-07.01.100 | Бак гидравлический | Нет в продаже |
|
| 2 | 6100975М2 | Прокладка | Нет в продаже |
|
| 3 | 815-00-07.01.400 | Горловина заливная топливного бака | Нет в продаже |
|
| 4 | 390972X1 | Шайба | Нет в продаже |
|
| 5 | 339169X1 | Гайка | Нет в продаже |
|
| 6 | TМ 178 G100L | Крышка бака | Нет в продаже |
|
| 7 | 3515254M1 | Всасывающий фильтрующий элемент | Нет в продаже |
|
| 8 | LS127-1W/M12 | Указатель уровня | Нет в продаже |
|
| 9 | 6007796M1 | Болт | Нет в продаже |
|
| 10 | 385363X1 | Гайка | Нет в продаже |
|
| 11 | 376501X1 | Заглушка уловитель | Нет в продаже |
|
| 12 | 1476281X1 | Шайба | Нет в продаже |
|
| 13 | 815-00-07.01.300 | Кожух | Нет в продаже |
|
1
2
3
4
5
6
7
8
9
10
11
12
13
Содержащиеся в справочниках-каталогах запасные части и детали носят исключительно информационный характер