Оригинальные каталоги
| № | Номер | Наименование | Цена | |
|---|---|---|---|---|
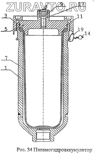
| 1 | 64020.00.100 | Корпус | Нет в продаже |
|
| 3 | 64020.00.002 | Гайка | Нет в продаже |
|
| 5 | 64020.00.003 | Крышка | Нет в продаже |
|
| 7 | 64020.00.005 | Диафрагма | Нет в продаже |
|
| 9 | 64020.00.008 | Винт | Нет в продаже |
|
| 11 | 090-95-30-2-3 ГОСТ 9833-73 | Кольцо | Нет в продаже |
|
| 14 | 10/6.5 ГОСТ 3268-84 | Пломба | Нет в продаже |
|
| 17 | 10М3 ГОСТ 23358-87 | Прокладка | Нет в продаже |
|
| 19 | 1-0-С ГОСТ 3282-74 | Проволока L=600 мм | Нет в продаже |
|
1
3
5
7
9
11
14
17
19
Содержащиеся в справочниках-каталогах запасные части и детали носят исключительно информационный характер