Оригинальные каталоги
| № | Номер | Наименование | Цена | |
|---|---|---|---|---|
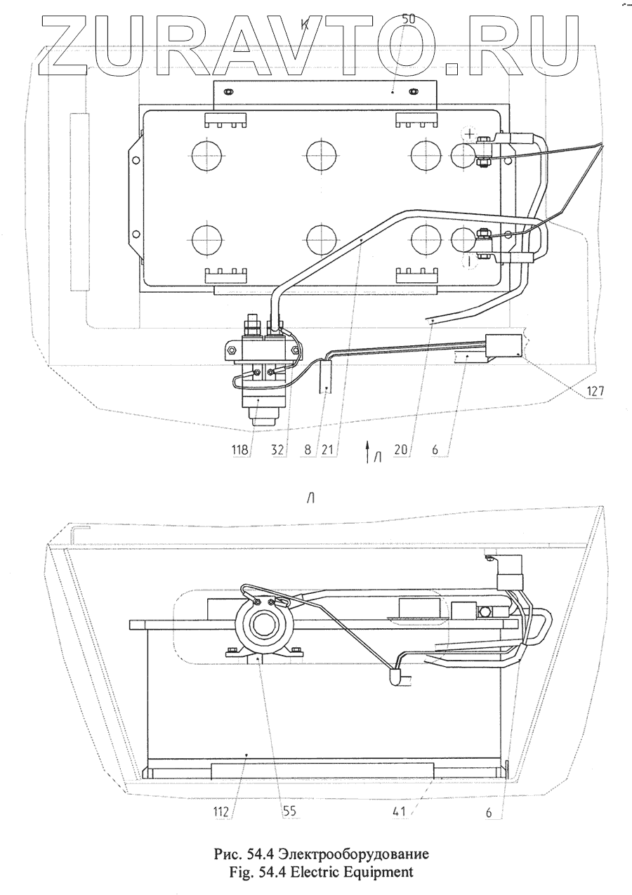
| 6 | 005-06-88.18.100 | Жгут проводов стартера | Нет в продаже |
|
| 8 | 005-06-88.18.120 | Жгут проводов двигателя | Нет в продаже |
|
| 20 | 005-04-88.14.180 | Провод | Нет в продаже |
|
| 21 | 005-04-88.14.180-10 | Провод | Нет в продаже |
|
| 32 | 016-00-88.26.090-10 | Провод | Нет в продаже |
|
| 41 | 005-04-88.14.003 | Пластина 1Ф-I-ТМКЩ-С-2 ГОСТ 7338-90 (30x250) | Нет в продаже |
|
| 50 | 005-04-88.14.005 | Прижим | Нет в продаже |
|
| 55 | 314-02-88.01.003 | Перемычка | Нет в продаже |
|
| 112 | 6СТ-190 | Батарея аккумуляторная | Нет в продаже |
|
| 118 | 1300.3737 | Выключатель | Нет в продаже |
|
| 127 | 738.3747-30 | Реле | Нет в продаже |
|
6
6
8
20
21
32
41
50
55
112
118
127
Содержащиеся в справочниках-каталогах запасные части и детали носят исключительно информационный характер