Оригинальные каталоги
| № | Номер | Наименование | Цена | |
|---|---|---|---|---|
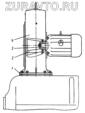
| 1033.23.00 | 1033.23.00 | Вентилятор двигателя подъема | Нет в продаже |
|
| 1 | 1014.73.301 | Резина рулонная | Нет в продаже |
|
| 2 | 1033.23.01Сб | Колесо вентилятора № 4 | Нет в продаже |
|
| 3 | К266.1 | Шайба 35/15 | Нет в продаже |
|
| 4 | 1033.23.03 | Корпус | Нет в продаже |
|
1
2
3
4
Содержащиеся в справочниках-каталогах запасные части и детали носят исключительно информационный характер