Оригинальные каталоги
| № | Номер | Наименование | Цена | |
|---|---|---|---|---|
| 1080.16.00СБ | 1080.16.00СБ | Редуктор поворота | Нет в продаже |
|
| 1080.16.07СБ | 1080.16.07СБ | Маслопровод | Нет в продаже |
|
| 1082.16.00СБ | 1082.16.00СБ | Редуктор поворота | Нет в продаже |
|
| 1082.16.00СБ | 1082.16.00СБ | Редуктор поворота | Нет в продаже |
|
| 1080.16.00СБ | 1080.16.00СБ | Редуктор поворота | Нет в продаже |
|
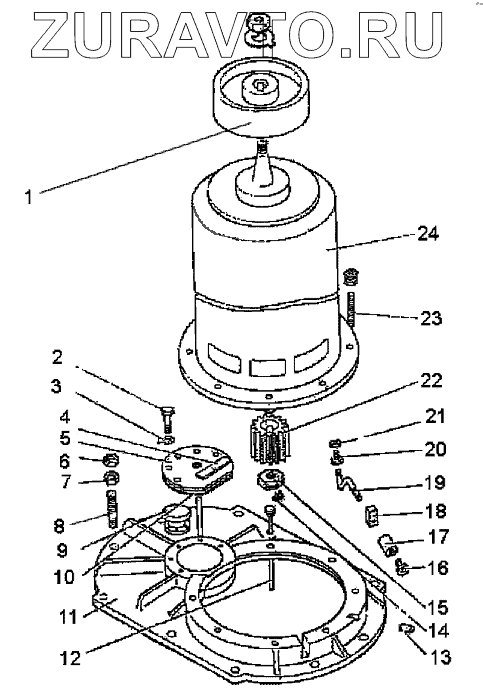
| 1 | 1080.16.41 | Шкив | Нет в продаже |
|
| 2 | Болт М16х40.58 | Болт М16х40.58 | Нет в продаже |
|
| 3 | Шайба стопорная 17.02 | Шайба стопорная 17.02 | Нет в продаже |
|
| 4 | 1080.16.48 | Резина рулонная 2МБ-Б-С | Нет в продаже |
|
| 5 | 1080.16.29 | Крышка | Нет в продаже |
|
| 6 | Гайка М24.4 | Гайка М24.4 | Нет в продаже |
|
| 7 | Гайка М24.4 | Гайка М24.4 | Нет в продаже |
|
| 8 | Шпилька Б М24х70 (24/54) 010 | Шпилька Б М24х70 (24/54) 010 | Нет в продаже |
|
| 9 | 01469.00 | Колпак вентиляционный № 1 | Нет в продаже |
|
| 10 | Прокладка ф 270/192х0,5 | Прокладка ф 270/192х0,5 | Нет в продаже |
|
| 11 | 1080.10.32-1 | Крышка | Нет в продаже |
|
| 12 | 03680.00-01 | Маслоуказатель жезловой 1-400-390-15 | Нет в продаже |
|
| 13 | Штифт 16х40 | Штифт 16х40 | Нет в продаже |
|
| 14 | Болт 3 М10х20.58 | Болт 3 М10х20.58 | Нет в продаже |
|
| 15 | 1080.16.26 | Гайка | Нет в продаже |
|
| 16 | Масленка винтовая MB 3/8 | Масленка винтовая MB 3/8 | Нет в продаже |
|
| 17 | Муфта к труб. 3/8 | Муфта к труб. 3/8 | Нет в продаже |
|
| 18 | 1080.16.10 | Прокладка | Нет в продаже |
|
| 19 | 1080.16.09 | Колено | Нет в продаже |
|
| 20 | 1080.16.08 | Футорка | Нет в продаже |
|
| 21 | Гайка M10.4 | Гайка M10.4 | Нет в продаже |
|
| 22 | 1080.16.40-2 | Шестерня | Нет в продаже |
|
| 23 | Шпилька Б М24х60-010 | Шпилька Б М24х60-010 | Нет в продаже |
|
| 24 | Электродвигатель ДПВ-52 | Электродвигатель ДПВ-52 | Нет в продаже |
|
1080.16.00СБ
1082.16.00СБ
1082.16.00СБ
1080.16.00СБ
1
2
3
4
5
6
7
8
9
10
11
12
13
14
15
16
17
18
19
20
21
22
23
24
Содержащиеся в справочниках-каталогах запасные части и детали носят исключительно информационный характер