Оригинальные каталоги
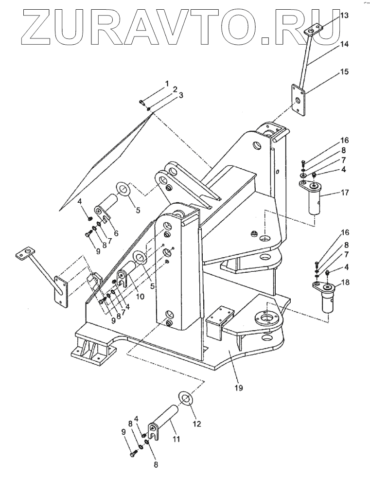
| № | Номер | Наименование | Цена | |
|---|---|---|---|---|
| 1 | GB5783-86 | Болт | Нет в продаже |
|
| 2 | GB93-87 | Шайба 12 | Нет в продаже |
|
| 3 | ZL15E.8-1 | Пластина | Нет в продаже |
|
| 4 | GB1152-79 | Заглушка для смазки | Нет в продаже |
|
| 5 | ZL15E.11-11 | Масленка | Нет в продаже |
|
| 6 | ZL15E.11-10 | Шайба | Нет в продаже |
|
| 7 | GB96-85 | Шайба | Нет в продаже |
|
| 8 | GB93-87 | Шайба 12 | Нет в продаже |
|
| 9 | GB5783-86 | Болт | Нет в продаже |
|
| 10 | ZL15E.11.9 | Болт | Нет в продаже |
|
| 11 | ZL15E.11.11 | Штифт вала | Нет в продаже |
|
| 12 | ZL15E.11A-9 | Штифт вала | Нет в продаже |
|
| 13 | ZL15H.8.5-1 | Шайба | Нет в продаже |
|
| 14 | ZL15H.8.5-2 | ZL15H.8.5-2 | Нет в продаже |
|
| 15 | ZL15H.8.5-3 | ZL15H.8.5-3 | Нет в продаже |
|
| 16 | GB5783-86 | Болт | Нет в продаже |
|
| 17 | ZL15E.8.3 | Штифт вала | Нет в продаже |
|
| 18 | ZL15E.8.4 | Штифт вала | Нет в продаже |
|
| 19 | ZL16G.8.1 | Передняя рама | Нет в продаже |
|
1
2
3
4
4
4
4
4
5
5
6
7
7
7
7
8
8
8
8
8
8
9
9
9
10
11
12
13
14
15
16
16
17
18
19
Содержащиеся в справочниках-каталогах запасные части и детали носят исключительно информационный характер