- Каталоги запчастей к технике
- Спецтехника
- XCMG
- QY25K5-I
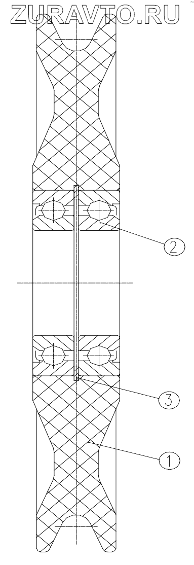
- 111200852 Pulley Assembly
| № |
Номер |
Наименование |
Цена |
|
|
1 |
111201938
|
Pulley |
Нет в продаже
|
|
|
2 |
800500089
|
Bearing 6215-Z |
Нет в продаже
|
|
|
3 |
805400024
|
Retaining ring 130 |
Нет в продаже
|
|
1
2
3
Содержащиеся в справочниках-каталогах запасные части и детали носят исключительно информационный характер